搜索

高端家居经销商“跑路”背后:KD定制陷区域代理危机,居然智家曾隐身股东序列

发表时间:2025-11-24 12:00作者:亚太家居网
图片


近日,江苏徐州多名消费者投诉称,在支付数万至十余万元全款定制KD家居产品后,当地代理商突然“失联”,导致装修工程停滞,产品交付无望。尽管消费者多次联系门店与KD北京总部,却仅得到“问题已反馈区域经理”的模糊回应。这一事件不仅暴露了品牌对区域代理商管理的漏洞,也折射出家居行业在深度调整期面临的渠道信任危机。


代理商“失联”背后
品牌扩张与管控失衡


图片


KD定制家居成立于北京,已有20余年历史,以“不盲目追求规模,专注服务特定客户”为品牌理念。然而,其近年来的市场策略却显现出矛盾之处。据公开信息,KD定制在华东与北京市场持续发力,其董事长严红曾在2025家居优选品牌大会上高调表示“江浙沪市场表现舒适”。但与此同时,品牌对区域代理商的管理未能同步跟上。


此次涉事的徐州代理商正是KD定制在江浙沪地区的渠道网络一环。业内人士分析,家居行业普遍采用加盟模式快速扩张,但若总部对经销商的资金监管、履约能力审核不足,极易引发“收款跑路”风险。尤其是在当前消费疲软、成本上涨的背景下,部分中小代理商资金链断裂,进一步加剧了此类纠纷。


股权迷局
股东频繁退出,居然之家关联方曾隐身其中


图片


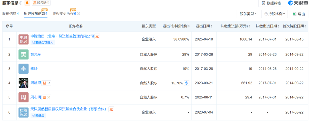
天眼查数据显示,KD定制主体公司“北京凯蒂易居家居有限公司”成立于2014年,目前由郡程工管(邵学军控股)和严红分别持股38.1%与33.3%。值得注意的是,其历史股东中曾出现居然之家关联基金——天津居然智居股权投资基金合伙企业与中源怡居投资基金管理有限公司,但两者均已退出股东序列。


f896947d22f2ded69c865e3e89d3a6b2.png


这一股权变动引发市场猜测:头部家居渠道商的撤离是否预示对品牌前景的看淡?尽管居然之家未公开回应,但行业观察者认为,家居品牌若无法平衡直营与加盟模式的风险,资本方选择退出并不意外。


图片


此外,凯蒂家居大股东郡程工管于2024年10月将部分股权出质给子公司江苏凯蒂,这一动作也被视为企业试图盘活资产的信号。结合此前多位自然人股东陆续退出,KD定制内部的股权与资金稳定性存疑。


行业困局
加盟模式之殇何解?


ff851e2bf4f751b7a65ce71511f1b48.jpg


KD定制的案例并非孤例。近年来,家居行业屡现代理商“失联”事件,如2023年某定制品牌华南代理商卷款千万跑路,2024年某软装品牌因商场撤场导致客户订单烂尾。其背后共性在于:


1. 总部管控弱化:品牌方过度依赖加盟商开拓市场,却缺乏对经销商资金流向、服务质量的闭环监管;

2. 行业下行压力:房地产低迷传导至家居消费,部分代理商为冲销量过度承诺,最终因资金周转不灵而崩盘;

3. 消费者保障缺失:预付款模式缺乏第三方资金监管,消费者在纠纷中处于弱势地位。


破局之道
强化渠道治理与资金安全


553aadab4c819d41060e356c20ae3ba.jpg


针对行业乱象,部分头部企业已开始探索改革:


  • 建立资金共管账户:如品牌方要求经销商将客户款项存入指定账户,按工程进度分批划拨;

  • 数字化履约监控:通过ERP系统实时追踪订单生产、物流及安装环节,避免信息不透明;

  • 渠道结构优化:在核心城市扩大直营比例,同时对加盟商实行分级认证与淘汰机制。


对于消费者而言,选择品牌时需警惕“全款预付”陷阱,优先考虑提供第三方资金托管或分期支付服务的商家,并保留合同、付款凭证等维权证据。


KD定制代理商“失联”事件,既是企业渠道管理的警示,也是家居行业转型阵痛的缩影。在市场竞争与经营压力并存的当下,品牌方需重新审视规模与风险的平衡,而监管层与行业协会亦应推动预付款保障机制的完善。唯有构建更透明的消费环境,才能重振市场信心,助力行业穿越周期。

实时资讯

实时资讯

副标题

合作伙伴
联系方式

邮箱:307771326@qq.com

地址:河北省石家庄市新华区格澜商务1109室

电话:15226561371